溫州弘凌泵閥有限公司
客服1:0577-67987292
客服2:0577-67987270
傳真:0577-67987252
手機:13355776372
地址:浙江省永嘉縣甌北鎮浦西工業區
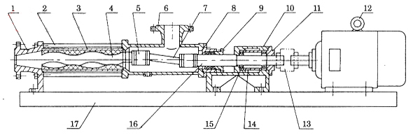
G型單螺桿泵結構圖及工作原理與特性
時間:2018-3-15 14:44:13來源:http://www.shqipei.com作者:弘凌泵閥
G型單螺桿泵工作原理與特性:
G型單螺桿泵是按迥轉嚙合容積式原理工作的新型泵種。主要工作部件是偏心螺桿(轉子)和固定的襯套(定子)。由于該部件的特殊幾何開頭分別形成單獨的密封容腔。介質由軸向均勻推行流動。內部流速代低,容積保持 不變。壓力穩定,因而不會產品渦流和攪動。 單螺桿泵被廣泛用于各行業輸送各類介質,恒壓連續運行,無脈動,介質輸送無破損,通過調節轉速改變流量從而達到計量的目的。本產品適合輸送具有以下特性的介質:固體含量高(大粒徑可達150mm)或無固體含量|各種粘度(1mPas-3百萬mPas)的介質|觸變性和易膨脹性介質|剪切敏感性介質|磨蝕性介質|有/無自潤滑性的介質|腐蝕性介質(pH=O-14)|粘結性介質|有毒性介質|流量大、壓力高·流量范圍從每小時幾毫升到500m3(2200gpm)·壓力范圍高可達48bar,特殊設計可達72bar。同一種傳動部件可與四種不同設計的轉子/定子匹配,為您提供佳使用方案。
針對不同的應用領域,選用不同的金屬材料,從鑄鐵、鎳鉻鋼到耐酸材料、哈氏合金及鈦合金。彈性材料可選用耐磨的、耐油的、耐酸的、耐堿的橡膠,如天然橡膠、丁晴橡膠、乙丙橡膠及氟橡膠等。對磨蝕性強的介質,可選用陶瓷或塑料。當介質因高溫或含有某些化學成分而不能選用彈性材料時,可選用硬材質定子或剛性定子。各種軸封形式:按客戶的要求,機械密封從單端面機封(帶或不帶急冶)、雙端面機封(背靠背式及串聯式機械密封)到盒式密封;也可選用填料密封、水封環及特殊密封。對有毒介質可提供無泄漏磁力傳動。
G型單螺桿泵性能特點:
1、高吸上高度可6米水柱
2、可雙向旋轉,雙向輸送(需配備反轉定子)
3、安裝方式靈活.
4、運行順暢、平穩、噪音低、無脈動、無剪切
5、輸送介質溫度范圍-20℃~+150℃
6、單螺桿泵零件少,結構緊湊,體積小,維修簡便,轉子和定子是本泵的易損件,結構簡單,便于裝拆。傳動可采用聯軸器直接傳動,或采用調速電機,三角帶,變速箱等裝置變速。海坦泵業是制造、設計、生產單螺桿泵的專業廠家。不同的螺桿泵其具體使用場合亦有所不同。
G型單螺桿泵結構圖:
| 1 | 出料口 | 4 | 螺桿軸 | 7 | 連節軸 | 10 | 軸承座 | 13 | 連軸器 | 16 | 傳動軸 |
| 2 | 拉桿 | 5 | 萬向節總成 | 8 | 填料座 | 11 | 軸承蓋 | 14 | 軸套 | 17 | 底座 |
| 3 | 定子 | 6 | 吸入口 | 9 | 填料壓蓋 | 12 | 電動機 | 15 | 軸承 |
|
G型單螺桿泵型號意義:
G型單螺桿泵主要用途:
1、環境保護:工業污水、生活污水、含有固體顆粒及短纖維的污泥濁水的輸送。特別適用于油水分離器,板框壓濾機等設備。
2、船舶工業:輪底清洗、油水、油渣、油污水等介質的輸送。
3、石油工業:輸送原油。近年來,尤其成功地抽吸地下千米之深的原油與水的混合物,煤田里的煤田氣和水的混合物,從而大大降低了機械采油、采煤田氣的成本。當油田到了后期,使用螺桿泵往地層內灌注聚合物增加油田采收率。
4、醫藥、日化:各種粘調漿、乳化液、各種軟膏化裝品等的輸送。
5、食品罐頭業:各種粘稠淀粉、食油、蜂密、糖醬、果漿、奶油、魚糜肉糜以及其下腳料的輸送。
6、釀造業:各種發酵粘稠液、濃酒槽、糧食制品渣各種醬類、漿和含有塊關固態物的粘液等。
7、建筑工業:水泥沙漿、石灰漿、涂料及其經糊狀體的噴涂與輸送。
8、采礦工業:礦井內的含固體顆粒的地下和污漿水等排送到地面。
9、化學工業:各種懸浮液、油脂、各種膠體漿、各種粘合劑。
10、印刷、造紙工業:高粘度油墨、墻紙的PVC高分子塑料糊和各種濃度的紙漿,短纖維漿料的輸送。
G型單螺桿泵性能參數:
|
型 號
|
轉速
r/min |
流量
m3/h |
壓力
MPa |
電機
KW |
揚程
m |
進口
mm |
出口
mm |
允許顆粒直徑
mm |
允許維修長度
mm |
|
G20-1
|
960
|
0.8
|
0.6
|
0.75
|
60
|
25
|
25
|
1.5
|
25
|
|
G25-1
|
960
|
2
|
0.6
|
1.5
|
60
|
32
|
25
|
2
|
30
|
|
G25-2
|
960
|
2
|
1.2
|
2.2
|
120
|
32
|
25
|
2
|
30
|
|
G30-1
|
960
|
5
|
0.6
|
2.2
|
60
|
50
|
40
|
2.5
|
35
|
|
G30-2
|
960
|
5
|
1.2
|
3.0
|
120
|
50
|
40
|
2.5
|
35
|
|
G35-1
|
960
|
8
|
0.6
|
3.0
|
60
|
65
|
50
|
3
|
40
|
|
G35-2
|
960
|
8
|
1.2
|
4.0
|
120
|
65
|
50
|
3
|
40
|
|
G40-1
|
960
|
12
|
0.6
|
4.0
|
60
|
80
|
65
|
3.8
|
45
|
|
G40-2
|
960
|
12
|
1.2
|
5.5
|
120
|
80
|
65
|
3.8
|
45
|
|
G50-1
|
960
|
20
|
0.6
|
5.5
|
60
|
100
|
80
|
5
|
50
|
|
G50-2
|
960
|
20
|
1.2
|
7.5
|
120
|
100
|
80
|
5
|
50
|
|
G60-1
|
960
|
30
|
0.6
|
11
|
60
|
125
|
100
|
6
|
60
|
|
G60-2
|
960
|
30
|
1.2
|
15
|
120
|
125
|
100
|
6
|
60
|
|
G70-1
|
960
|
45
|
0.6
|
15
|
60
|
150
|
125
|
8
|
70
|
|
G70-2
|
720
|
45
|
1.2
|
18.5
|
120
|
150
|
125
|
8
|
70
|
|
G85-1
|
720
|
65
|
0.6
|
15
|
60
|
150
|
150
|
10
|
80
|
|
G105-1
|
500
|
100
|
0.6
|
22
|
60
|
200
|
200
|
15
|
110
|
|
G135-1
|
400
|
150
|
0.6
|
37
|
60
|
250
|
250
|
20
|
150
|
注意:
1、性能表的試驗數據以20℃的清水為介質,粘度是1mm2/s。
2、當泵輸送高粘度式有顆粒的介質時,根據介質的性質。泵的轉速必須不同。
3、當泵輸送不同的磨損性介質時,泵的轉速也必須不同。
G型單螺桿泵輸送方式:
G型單螺桿泵安裝尺寸:
|
型號
|
L1
|
L2
|
L3
|
L4
|
L5
|
H
|
H1
|
B
|
B1
|
|
|
G20-1
|
93
|
|
545
|
220
|
800
|
130
|
195
|
125
|
160
|
φ14×4
|
|
G25-1
|
135
|
|
800
|
325
|
1140
|
145
|
250
|
160
|
180
|
φ14×4
|
|
G25-2
|
110
|
|
935
|
460
|
1280
|
160
|
260
|
160
|
200
|
φ14×4
|
|
G30-1
|
105
|
|
935
|
340
|
1170
|
160
|
265
|
160
|
200
|
φ14×4
|
|
G30-2
|
135
|
650
|
460
|
550
|
1505
|
195
|
315
|
200
|
245
|
φ16×6
|
|
G35-1
|
130
|
475
|
530
|
430
|
1385
|
200
|
315
|
205
|
245
|
φ16×6
|
|
G35-2
|
140
|
485
|
715
|
620
|
1610
|
215
|
340
|
200
|
245
|
φ16×6
|
|
G40-1
|
150
|
465
|
622
|
455
|
1515
|
200
|
315
|
205
|
250
|
φ16×6
|
|
G40-2
|
165
|
665
|
625
|
670
|
1720
|
215
|
325
|
210
|
240
|
φ16×6
|
|
G50-1
|
150
|
575
|
545
|
490
|
1560
|
|
320
|
205
|
245
|
φ16×6
|
|
G50-2
|
150
|
700
|
700
|
735
|
1975
|
|
380
|
230
|
295
|
φ18×6
|
|
G60-1
|
150
|
675
|
700
|
570
|
1840
|
|
385
|
235
|
285
|
φ18×6
|
|
G60-2
|
150
|
800
|
845
|
850
|
2145
|
|
390
|
240
|
315
|
φ18×6
|
|
G70-1
|
183
|
720
|
750
|
685
|
1995
|
|
435
|
240
|
315
|
φ18×6
|
|
G70-2
|
190
|
900
|
935
|
1055
|
2380
|
|
465
|
250
|
350
|
φ20×6
|
|
G85-1
|
200
|
800
|
850
|
735
|
2045
|
|
480
|
260
|
350
|
φ20×6
|
|
G105-1
|
210
|
870
|
930
|
885
|
2200
|
|
500
|
300
|
400
|
φ20×6
|
|
G135-1
|
250
|
930
|
970
|
985
|
2300
|
|
510
|
320
|
450
|
φ22×6
|




